Traffic Light Static Tension
Unit: Force and Newton's Laws
Prerequisites
Later Topics
Multi-Step Problem Preview
Part 1 of 5 — sign up to solve the full problem!
Part 1
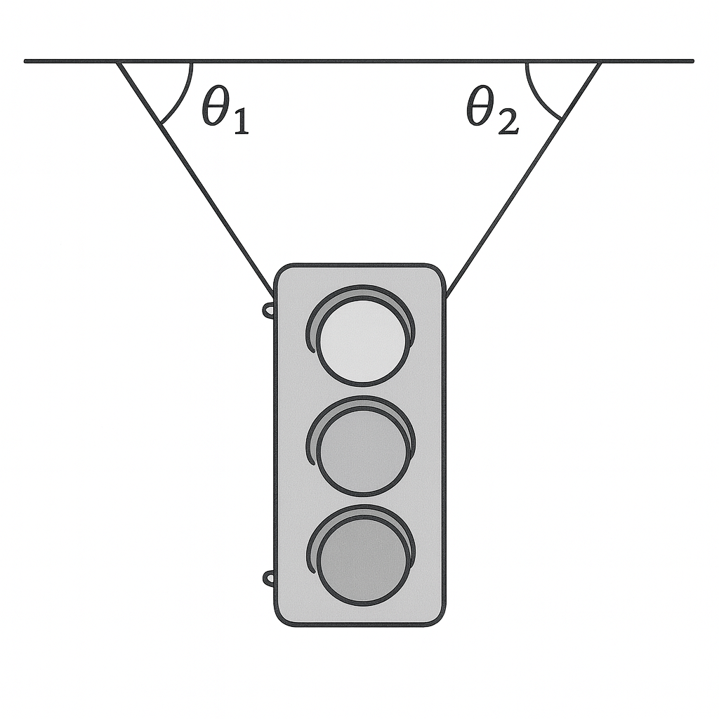
You are a civil engineer tasked with evaluating the safety of a proposed traffic light installation. The traffic light has mass and will be suspended from two cables that make angles and with the horizontal ceiling. Each cable has a tension limit of . To verify the design is feasible, you need to first identify the forces acting on the traffic light.

Start by selecting the correct free-body diagram for the traffic light.
Correct!
Solution
The free-body diagram for the traffic light must show three forces acting on it:
-
Gravitational force : Acts vertically downward with magnitude .
-
Tension : Acts along the left rope. Since the rope makes an angle with the horizontal ceiling, the tension vector points upward and to the left at an angle of from the positive -axis (or equivalently, above the negative -axis).
-
Tension : Acts along the right rope. Since the rope makes an angle with the horizontal ceiling, the tension vector points upward and to the right at an angle of from the positive -axis.
The correct free-body diagram shows:
- pointing straight down (at )
- upward and to the left, making with the horizontal)
- upward and to the right, making with the horizontal)
Want to solve all 5 parts?
Sign up for a free account to work through the complete multi-step problem with instant feedback!
Ready to Start Learning?
Sign up now to access the full Traffic Light Static Tension lesson and our entire curriculum!